ICAR-CIFE Eco-Hatchery for Carp Seed Production

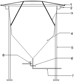
Cross Sectional view of Jar hatchery

Cross Sectional view of Jar hatchery

Need for Invention

The need for development of hatcheries was emphasized so as to achieve maximum production of fish seed from the huge quantities of eggs produced by the hypophysation technique. The present prevalent practice for incubation and hatching of carp eggs is to use the circular hatchery. But, the circular carp hatchery has some problems. Firstly, due to horizontal flow of water, sometimes, eggs do not get separated resulting into low survival rates of spawns. Secondly, the capital cost of establishment of the circular hatchery is very high, which does not suit to the small scale industries and farmers. Apart from this, the circular hatchery requires huge quantity of good quality water which is very scarce in most part of India and this is not portable. With a view to tackle the problems associated with incubation, hatching, and production of spawn of carps, a hatchery comprising cone-shaped FRP jars has been was designed by CIFE, Mumbai and installed for experiment at Arrey Farm, State Fisheries Department of Maharashtra, Goregaon, Mumbai. The FRP jar hatchery has been designed on the basis of characteristic behaviour of larvae of these carps.

Description of technology

The hatchery unit includes 6 FRP Jars. The jar has a conical shape with 60 cm diameter at the top and 30 cm at the conical bottom, and has depth 100 cm. The jars are connected by inlet and outlet pipes with control valves. The inlet has a network of GI pipes which contains 5 cm diameter main pipe which is connected to overhead water tank. This pipe is reduced to 1.5 cm in order to supply water to jars at desired flow rate. Water enters the jars from the bottom and comes out through an outlet provided at the top maintaining vertical flow of water in the jar, which bobs-up the eggs continuously to avoid settlement of eggs at the bottom; and finally, leading to hatching of eggs.

At the top of the jar, one grove (5 cm depth) is made in between inner & outer walls. In order to prevent the escaping of eggs and hatchlings/ spawn from the jar, dispose of the dissolved waste and free flow of water, MS flat framed cone shaped Skelton fitted with fine cloth mesh (40 micron) fits in the groove carved on the inner wall of the jar at a depth of 44 cm from the top of the Jar. The frame with mesh is tightened at the top on arms of the frame with nut and bolt arrangement. The outlet of jar is in the form of 4 cm diameter PVC pipe.

Description of technology

1. Nutbolt, 2. Outlet, 3. MS Flat Framed Cone Shaped skeleton fitted with fine cloth mesh (40 micron), 4. 4mm thick FRP body with inside and outside gel coat finish, 5. M.S. Stand, 6. Gate valve to control flow of water, 7. Inlet pipe, 8. Gate valve for collection of spawn

Cost of hatchery

The cost of one hatchery unit consisting of 6-FRP jars with inlet and outlet arrangements including pipes, fittings, valves, and other accessories excluding overhead water tank is Rs.1,30,000/= (Approx.)

Advantages of FRP Jar hatchery

  • Low cost of establishment
  • Maintenance free long life due to FRP material
  • Low water requirement compared to circular concrete hatchery
  • Less man power requirement and negligible recurring expenditure
  • Ease in operation due to simple technology
  • Low mortality rate of hatchings at all stages of larval life of eggs, better water quality parameters, and control unforeseen hazards
  • Low water pollution and better aeration due to running water
  • Dead eggs, hatchlings and deformed larvae are automatically segregated from the good ones
  • Performance of hatchery is least affected due to Sun and rain as the hatchery unit is established under roof
  • Ease in establishment due to its portability (as FRP jars are light weighted) and also ease in handling and harvesting of spawn
  • The larvae will be collected automatically into the spawnery by gravity.
  • More than 90% hatching success and survival of spawn.

It may be noted that on 16th April 2016, ICAR-CIFE signed MoU with Hyderabad based TEEWAVE Technologies for transfer of its innovative Eco-hatchery technology for carp seed production. Also, a patent application (Application Number: 3042MUM/ 2013; Date of filing: 23.09.2013) has already been filed.

ICAR-CIFE Eco-Hatchery